快讯丨百度注册“地图想想”商标;阿里申请“淘宝法象”
2026西湖龙井茶官网DTC发售:茶农直供,政府溯源防伪到农户家
1、近日,百度在线网络技术(北京)有限公司申请注册多枚“百度想想”“小度想想”“地图想想”“想想”商标,国际分类涉及科学仪器、运输贮藏、网站服务,当前商标状态均为等待实质审查。

2、赛力斯汽车有限公司于近日申请注册多枚“AADS”商标,国际分类涉及科学仪器、运输工具、网站服务,当前商标状态均为等待实质审查。
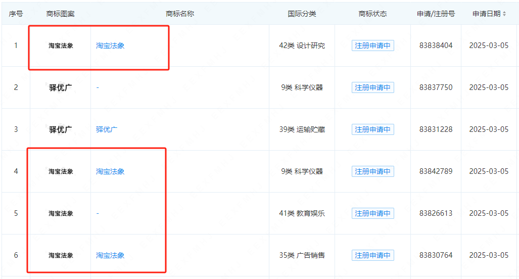
3、近日,阿里巴巴(中国)有限公司申请注册多枚“淘宝法象”商标,国际分类为科学仪器、广告销售、教育娱乐、网站服务,当前商标状态为等待实质审查。淘宝法象是阿里巴巴发布的一款具有电商服饰营销视频特色的图生视频大模型。

4、小米科技有限责任公司本月提交多件“人车家”商标,涉及15类乐器、23类-纱线丝和34类-烟草烟具等。
5、近日,王源持股49%的重庆珺乔文化产业有限公司多枚“U NEED A HUG”商标,国际分类涉及服装鞋帽、教育娱乐等。此前,该公司已注册王源巡演主题“客厅狂欢”“客厅狂欢 THE BEDAZZLING TOUR”等商标。



请先 登录后发表评论 ~