快讯丨腾讯注册“微信问一问”“AI问书”!小米申请“Xiaomi SU7”商标!
2026西湖龙井茶官网DTC发售:茶农直供,政府溯源防伪到农户家
1、近日,腾讯科技(深圳)有限公司申请5枚“微信问一问”商标,国际分类为办公用品、广告销售、科学仪器、健身器材、通讯服务,当前商标状态均为等待实质审查。据悉,微信“问一问”功能是在2023年3月28日的微信公开课PRO上宣布推出的 。

2、此外,腾讯还申请了多件“AI问书”商标。据了解,AI问书是微信读书app里面的一项功能,通过这项功能,用户在阅读时遇到的任何问题,都能得到即时回答,无需跳转至其他软件,更无需进行繁琐的信息筛选,大大提升了阅读的连贯性和深度。

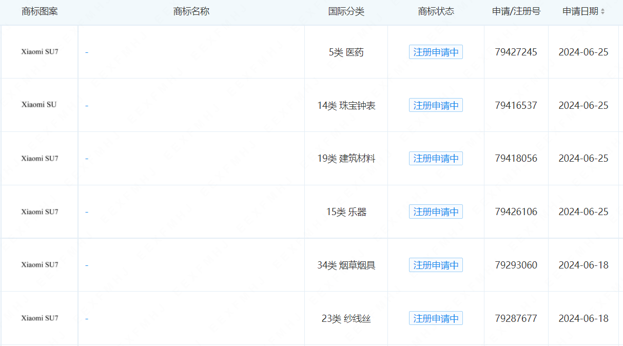
3、小米科技有限责任公司近期提交了10余件“Xiaomi SU7”和“Xiaomi SU”商标,涵盖多个类别,为新车商标布局。

4、蜜雪冰城股份有限公司近期申请“雪王学堂”文字商标和“站在书本上起飞的雪王”图形商标,涉及9类-科学仪器、35类-广告销售、41类-教育娱乐以及42类-设计研究等多个类别。

5、近日,赛力斯(601127)申请注册多枚“赛力斯金融”“赛力斯保险”“赛力斯二手车”“赛力斯售后”等商标,国际分类包括金融物管、建筑修理、网站服务等,当前商标状态均为等待实质审查。


请先 登录后发表评论 ~