快讯丨华为申请“悟空”商标;小鹏注册“P7 Ultra”商标
2026西湖龙井茶官网DTC发售:茶农直供,政府溯源防伪到农户家
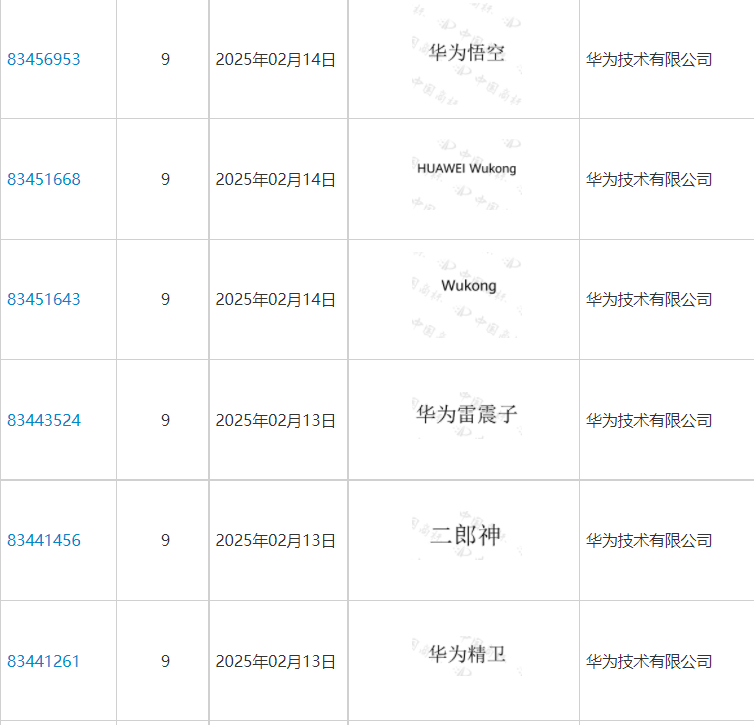
1、近日,华为技术有限公司申请注册“悟空”“华为悟空”“Wukong”“HUAWEI Wukong”商标,国际分类均为科学仪器。在此之前,华为还申请了“精卫”“雷震子”“洛神”“二郎神”等神话人物商标。

2、广东小鹏汽车科技有限公司近日申请注册1枚“P7 Ultra”,国际分类为运输工具,当前商标状态为等待实质审查。

3、近日,上汽通用五菱汽车股份有限公司申请注册多枚“昊菱智运”商标,国际分类包含通讯服务、网站服务、运输贮藏等,当前商标状态为等待实质审查。
4、赛力斯汽车有限公司在 2 月 10 日申请注册多枚“问界智享”商标,涉及运输工具、教育娱乐、金融物管等多个类别。
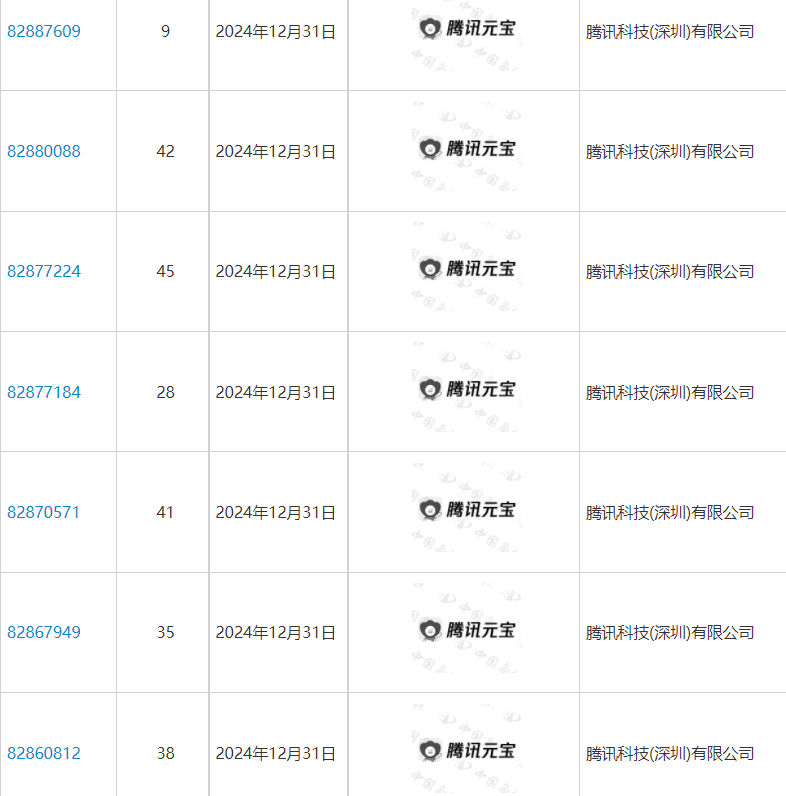
5、3月3日,腾讯元宝APP在中国区苹果应用商店免费App下载排行榜上升至第一,超越DeepSeek。据悉,腾讯在2020年至2024年已申请注册多枚“腾讯元宝”、“微信元宝”商标,目前部分商标已成功注册。




请先 登录后发表评论 ~